2025-03-09 15:20:19云广软件园
本站 3 月 5 日消息,科技媒体 patentlyapple 今天(3 月 5 日)发布博文,根据美国商标和专利局(USPTO)公示的清单,苹果获得了一项 Apple Pencil 手写笔专利。
该专利重点在于检测输入设备时减少干扰,从而提升输入精准度,还展示了 Apple Pencil 在可折叠显示屏上的应用潜力。
根据专利描述,新一代 Apple Pencil 将采用噪声抑制技术,减少因噪声导致的输入误差。例如,设备可以识别并修正与用户实际操作不符的异常“点”。
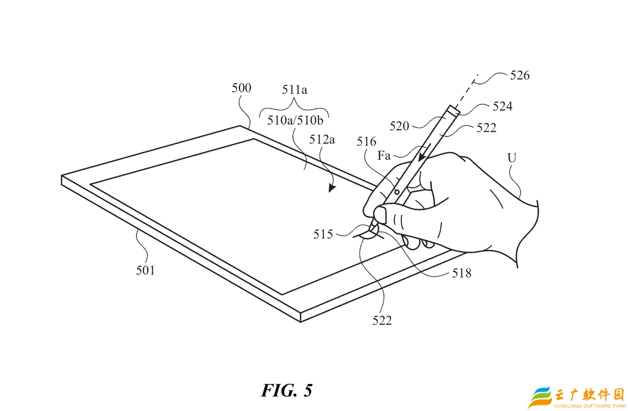
专利图 5 展示了一个示例系统,包括一支触控笔(#520)和一台电子设备(#500,如 iPad)。触控笔可以是智能笔、智能刷、手写笔等多种形式,用户通过调整触控笔的位置和方向向设备传递信息。触控屏表面可以是多触点显示屏,也可以是非显示触控表面,甚至是可折叠或柔性显示屏。本站附上相关图片如下:





Apple Pencil 不仅适用于传统平板电脑,还可用于折叠手机或平板等可折叠显示屏设备。用户可通过 Apple Pencil 在触控屏上进行书写、绘图、滚动、游戏等多种操作,甚至支持非显示触控表面,如触控板或绘图板。

声明:本文内容及配图由入驻作者撰写或者入驻合作网站授权转载。文章观点仅代表作者本人,不代表本站立场。文章及其配图仅供学习分享之
相关资讯更多
新品榜/热门榜